如何一键复制权限
一、统一登陆入口(登录)
打开统一登录入口页面(管理员提供); 一般网址是: 动态域名/dl.html
登录主站后台: 点击下面第二个按钮
然后登录进去。

二、进入主站后台
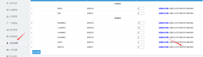
1. 点击【会员/权限】,然后选择所需参考的角色,在此角色后面,点击【复制权限】

2. 选择要赋予的权限(可以用shift+鼠标进行多个选择,也可以鼠标+ctrl进行单个多选择),一次可以选择多个
目标角色,最后点击提交即可,这样,这些角色都有相同权限了,极大的节约了时间。某些角色有个性化权限的,
再单独设置。

本教程文档下载: