主站会员中心教程
会员中心分为“主站会员中心”和“站群子站会员中心”;入口地址不同,若登陆错误会造成权限错误。
会员中心主要的作用:
就是让所有用户,在此处进行内容发布、内容审核、修改;同时管理员还可以进行部分系统管理,比如更新首页、设置属性、更新缓存。
总结一句话:内容的操作只需在会员中心处理,无需进入后台。

一、主站会员中心和入口
A、会员中心入口
方式A:前台进入
打开网站首页,点击登录-----登录后,点击”会员中心”,即可进入会员中心;
主站会员中心入口还可以直接输入地址进入:域名/u.php
另外一种可以直接在另外提供的“统一登录入口”界面点击进入,极其简单快捷

方式B:统一登录入口进入
打开统一登录入口页面(管理员提供); 一般网址是: 动态域名/dl.html
会员中心入口: 点击第一个按钮“主站门户登录”;即可进入。

二、发布内容
A、发布内容入口
进入会员中心-----点击发布内容------点击发布按钮
一般我们只需要在第一个文章内容上发布,因为95%的内容,都在此模型发布,他可以编辑器里面同时发布图片、视频、附件。

B、发布内容入口方式2
进入会员中心----点击发布内容------点击栏目预览-------点击发布按钮
点击此处可以直接对应的栏目下发布内容和预览对应栏目,此处发布内容可以省略选择栏目的过程。

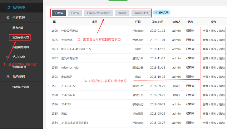
C、我发布的内容
如果需要查看自己发布的内容状态,比如是否已经审核,还是被退稿,就可以点击此处。
进入会员中心----我发布的内容------选择发布的内容,各个状态情况-------还可以对自己的内容进行修改(修改后的内容重新进入初始化审核状态)。

三、审核内容
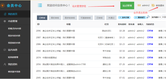
A、我签核(审核)的内容
如果您是栏目管理员或系统管理员,需要对投稿人发布的内容进行审核,就是点击此处。
进入会员中心-----点击“我签核的内容”-------点击”需直接审核”按钮-----------点击“未审”/“已初审”按钮

然后:选择“终审核”(当然可以退稿)--------点击“确定”按钮,内容就审核通过了。

四、搜索内容并修改内容
在“我发布的内容”、”我签核的内容”里面,输入内容关键字、内容ID,即可搜索出所需内容。

点击内容右边修改:

五、快速更新首页,立刻看发布内容效果
有时发布的内容,因为缓存没有立刻在页面上显示;如果发布的内容要立刻看到效果,可以点击“更新首页”,然后刷新网站相关页面查看效果(如果提示需要登陆后台,则用账号登陆后台即可)。

六、快速批量操作,对栏目和内容进行批量操作
如果您是管理员,想添加栏目、管理栏目、批量管理内容,可以点击此处(如果提示需要登陆后台,则用账号登陆后台即可),这个按钮主要让用户不需要登陆后台,提供易用性。

点击批量操作----顶部有内容管理、栏目管理、回收站等快捷按钮-------右边有栏目管理按钮

其他快捷操作:站点管理按钮可以操作大部分快捷功能,比如登录后台、修改菜单等

本教程文档下载: