系统安装

汇总性教程

内容管理

栏目管理

静态管理和缓存管理

标签和模板

模板教程

常见疑难问题

二次开发教程

动静态分离部署

首页 >  国微CMS教程 >  内容管理 >  快速发布内容
栏目常用功能演示操作教程

                                                    国微主站栏目常用功能

 

栏目管理涉及的功能比较丰富,可以达到各种效果;比如

 

进入主站栏目管理

A:先登录后台------点击“栏目管理”------就可以进行栏目管理了;

   

 

B栏目管理的基础按钮认识:

优先静态预览:栏目静态化后,可以点击预览静态地址;  优先动态预览:静态下,如果要查看动态地址,点击此处;

手机版预览:在电脑上查看手机版栏目预览;                  添加栏目:快捷添加栏目

添加内容:在此栏目下添加内容(一般会员中心添加);  栏目标签:点击此处,可以进入此栏目的标签可视化状态

内页标签:点击此处,可以进入内页可视化标签状态;     栏目合并:将此栏目合并到其他栏目

栏目克隆:创建一个一模一样的栏目或整个大分类            栏目回收箱:类似删除功能,只是删除 的栏目可以恢复

 

 

C底部的批量操作按钮:

 

 

                                                 常用功能操作如下

 

一、栏目收缩的展开操作

有时候如果要展开栏目操作,点击上述的加号按钮;点击顶部的是全部展开

 

 

 

二、栏目排序操作

可以批量对栏目进行排序,数字大的排在前面;(根据类型字段,可以看到它是属于大分类,还是栏目)

大分类排序:大分类和大分类的数字比;大的在前面。

栏目排序:同属一个大分类的小栏目,也是栏目和栏目数字比。和其他大分类的栏目数字大小无关。

 

设置后,在栏目管理底部可以点击进行排序:

 

 

  

三、更新栏目缓存

如果栏目预览和数据展示有异常,可以考虑更新下栏目缓存。(不需要勾选栏目的)

 

四、重新统计栏目内容数

当前台内容数量显示不正确的时候,就点击重新统计栏目内容数。(不需要勾选栏目的)

 

 

五、栏目预览:PC动态预览 / 静态预览 / 移动版预览

我们需要各种状态的预览;一方面获得效果查看,还有一种是获得地址。

PC静态预览: 如果栏目设置了静态,此按钮优先预览静态;格式比如:域名/html/1285/ ; 如果没有静态,打开此按钮是动态地址。

PC动态备用预览地址:如果网站静态化了,我们需要查看动态效果的时候,就点击此处。

移动版预览:如果要查看移动版的栏目预览,点击此处(它是动态地址)。

 

 

六、栏目上添加子栏目

点击添加栏目的加号按钮------进入栏目添加状态;

如果需要再后台添加子栏目,点击此处,这里添加栏目有个好处就是,不用再选择栏目归属和模型,节省时间。

 

 

 

七、栏目上添加内容

如果需要再后台添加内容的时候,点击此处(一般我们发布内容和修改内容,都是会员中心)

 

八、进入栏目/内页标签状态 按钮

如果我们需要进入该栏目的标签状态,进行图片替换和标签样式替换,点击此处。 内页也是同样效果。

 

效果如下:

 

 

九、栏目内容合并

将一个栏目的内容,合并到另外一个栏目;合并后,如果这个栏目不用了,可以删除。

 

十、栏目克隆的操作

登陆后台------进入栏目管理------点击克隆按钮-------选择克隆栏目的归属-----点击确定

克隆的栏目,和目标栏目一样的模板等设置,所有参数都一模一样。

 

 

备注:我们可以克隆一个栏目, 也可以克隆整个大分类(里面的子栏目也克隆了)

 

 

十一、修改编辑栏目

栏目是经常会修改的,对栏目名称、模板选择、IP限定、内容条数修改;


 

修改栏目可以很多项次:这个会有更详细的教程

 

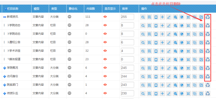
十二、栏目删除

登陆后台------进入栏目管理------点击删除栏目(栏目就进入了回收站,如果觉得是误删,可以恢复)

单个栏目删除按钮:

 

批量删除栏目按钮:

 

 

相关内容